Serwisy partnerskie:
Close icon
Serwisy partnerskie

Praktyczny kurs op-ampów 21. Idealny detektor szczytowy

Article Image
Opisany w poprzednim odcinku kursu detektor szczytowy robi to, co powinien, ale z ograniczeniami. Dodając dodatkowy op-amp, można przekształcić układ w idealny detektor szczytowy, który spełnia wszystkie międzynarodowe standardy.

Zawsze jest miejsce na poprawę!

Ograniczenia prostego detektora szczytowego

W profesjonalnym sprzęcie nigdy nie znajdziesz detektora szczytowego z poprzedniego odcinka kursu. Dlaczego nie?

Ponieważ rezystancja obciążenia obwodu wpływa na jego działanie. Wiesz, że o rozładowaniu kondensatora decyduje własny prąd rozładowania elementu oraz niewielki prąd płynący przez op-amp. Ponadto obciążenie, na przykład diodowy miernik VU, jest podłączone równolegle do kondensatora. Ten obwód oczywiście również pobiera prąd i ten prąd decyduje o rozładowaniu kondensatora. Jest to zawsze bardzo niepożądana sytuacja, jeśli na działanie Twojego obwodu wpływa obwód do niego podłączony. To jest już pierwszy powód, aby odrzucić to proste rozwiązanie.

Normy międzynarodowe

Istnieją również pewne standardy, które określają czas reakcji szczytowego miernika VU na nagły skok napięcia, patrz rysunek poniżej. Zgodnie ze standardami BBC, organizacji, która była pionierem we wczesnych dniach reprodukcji dźwięku i stąd też niektóre z jej własnych standardów były uznawane na arenie międzynarodowej, szczytowy miernik VU powinien reagować w ciągu czterech milisekund na szczyt na wejściu. Po ustąpieniu szczytu, napięcie powinno spaść z powrotem do zera w ciągu około jednej sekundy. Te czasy nie są łatwo regulowane za pomocą prostego obwodu podstawowego z poprzedniego odcinku kursu i dlatego zaprojektowano rozbudowany obwód, w którym zarówno czas reakcji, jak i czas powrotu są regulowane w szerokim zakresie za pomocą rezystora.

Odpowiedź detektora szczytowego na impuls wejściowy jest określona przez międzynarodowe normy

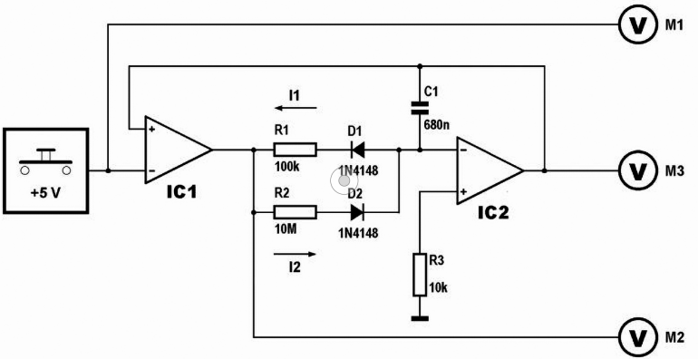
Układ idealnego detektora szczytowego

Układ jest narysowany na poniższym rysunku i wykorzystuje dwa wzmacniacze operacyjne. Bez wątpienia rozpoznasz znajome elementy. IC1 nie ma sprzężenia zwrotnego, więc pracuje jako komparator. IC2 ma kondensator pomiędzy wejściem i wyjściem, więc po prostu przyklejamy mu etykietkę „integrator”. Słusznie! Takie połączenie komparatora i integratora przedstawiliśmy już jako generator fal trójkątnych i prostokątnych. Szaloną (ale i fascynującą) rzeczą w elektronice jest to, że ten sam układ można zamienić w idealny detektor szczytowy przy kilku drobnych modyfikacjach.

Schemat idealnego detektora szczytowego

Działanie obwodu wyjaśniają wykresy na poniższym rysunku. Przy napięciu 0 V na wejściu, wyjście układu będzie wzrastać i opadać pomiędzy kilkoma mV dodatnimi a kilkoma mV ujemnymi.

Gdy napięcie wyjściowe stanie się lekko dodatnie z powodu dryfu offsetowego integratora, komparator odwraca się. Dzieje się tak dlatego, że wejście dodatnie jest wtedy dodatnie względem zera woltów na wejściu ujemnym. Wyjście komparatora staje się dodatnie. Integrator jest sterowany prądem I2 poprzez R2 i D2. Prąd ten będzie zmniejszał napięcie wyjściowe integratora. Po pewnym czasie napięcie wyjściowe integratora staje się ujemne o wartości kilku mV, komparator przerzuca. Ujemne napięcie wyjściowe rozładowuje kondensator integratora prądem I1 przez R1 i D1. Napięcie wyjściowe staje się dodatnie. 

Krótko mówiąc, przy zerowych napięciach na wejściu, napięcie wyjściowe oscyluje wokół zera, a wyjście komparatora przerzuca się w sposób ciągły.

W czasie t1 na ujemne wejście IC1 zostaje podany impuls dodatni. Wyjście komparatora reaguje natychmiast, skacząc do ujemnego napięcia zasilania. Kondensator C1 jest teraz ładowany prądem I1. Napięcie wyjściowe integratora wzrasta.

Wartość I1 jest określona przez wielkość R1. Dzięki temu, że rezystor ten jest regulowany, można dostosować śledzenie wejścia przez wyjście do wspomnianego wzorca.

Jeśli napięcie wyjściowe stanie się nieco większe od wejściowego, to komparator przerzuca. Tak więc znowu napięcie wyjściowe układu będzie się wahać o kilka miliwoltów wokół wartości szczytowej napięcia wejściowego. Wyjście komparatora będzie stale przerzucało się między jednym poziomem zasilania a drugim. 

Co się stanie po upływie czasu t3, czyli w momencie, gdy napięcie wejściowe spadnie do zera? Wejście dodatnie komparatora jest bardziej dodatnie niż wejście ujemne, w konsekwencji układ dostarcza dodatnie napięcie wyjściowe. To napięcie, poprzez rezystor R2 i diodę D2, zacznie rozładowywać kondensator. Wielkość prądu rozładowania jest regulowana poprzez zmianę wartości rezystora R2.

Graficzne wyjaśnienie działania obwodu

Uwaga końcowa

Na koniec należy zauważyć, że ten obwód również reaguje tylko na impulsy dodatnie. Stąd trzeba go połączyć z drugim obwodem. Jednak dowcip o wzmacniaczu odwracającym nie ma teraz zastosowania. Wszakże mamy teraz tylko jeden detektor szczytowy, a nie dwa łatwo łączone obwody. Stąd zwykle poprzedza się ten obwód prostownikiem pełnookresowym (dwupołówkowym). Pełny układ op-ampa zawiera wtedy nie mniej niż cztery wzmacniacze operacyjne, a to już profesjonalne rozwiązanie. A fajne jest to, że na podstawie tego kursu możesz bez problemu sam zaprojektować taki układ.

Firma:
Tematyka materiału: detektor szczytowy, Ograniczenia prostego detektora szczytowego, Normy międzynarodowe, Układ idealnego detektora szczytowego
AUTOR
Źródło
Elektronika dla Wszystkich wrzesień 2023
Udostępnij
Zobacz wszystkie quizy
Quiz weekendowy
Poziomy logiczne
1/10 Jakie rodziny układów logicznych są najczęściej stosowane współcześnie?
Oceń najnowsze wydanie EdW
Wypełnij ankietę i odbierz prezent
W tym numerze znajdziesz źródłową wersję artykułu publikowanego obok
Elektronika dla Wszystkich
wrzesień 2023
Elektronika dla Wszystkich
Przejrzyj i kup
UK Logo
Elektronika dla Wszystkich
Zapisując się na nasz newsletter możesz otrzymać GRATIS
najnowsze e-wydanie magazynu "Elektronika dla Wszystkich"