Serwisy partnerskie:
Close icon
Serwisy partnerskie

Prosty montaż zestawu robota Zumo Robot Kit v1.2 w 9 krokach

Article Image
Budowa robotów to nie tylko masa zabawy. Jest to również wiele nauki szczególnie dla młodszych elektroników, którym polecany jest zestaw Zumo Robot Kit v1.2. W tym oto wpisie przedstawiono 9 kroków, które należy wykonać, aby przytoczony zestaw złożyć w oparciu o platformę Arduino.

Krok 1:

Przylutuj brzęczyk oraz listwy kołkowe do płytki PCB zestawu Zumo Robot Kit v1.2. Pamiętaj, że możesz również przylutować inne podzespoły, np. czujniki, aby zindywidualizować zestaw. Z założenia płytka PCB osadzana jest na czarnej płytce dystansowej, która dostępna jest, gdy mowa o Zumo Robot Kit v1.2, w ramach tego zestawu (patrz kroki: 4 i 5).

Krok 2:

Przylutuj po 2 przewody do silniczków elektrycznych, jak pokazano na poniższych zdjęciach.

Krok 3:

Umieść silniczki elektryczne w kanale z przodu podwozia.

Krok 4:

Przykryj podwozie i silniczki elektryczne czarną płytką dystansową, po czym weź i przymocuj po jednej nakrętce M3 w obu nadkolach przednich kół.

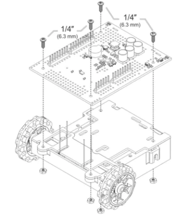
Krok 5:

Teraz należy zamontować płytkę PCB na górze podwozia. Pamiętaj o przełożeniu przewodów silniczków przez odpowiednie otwory. Przymocuj płytkę PCB do podwozia za pomocą 4 śrub.

Krok 6:

Obróć podwozie i zamontuj styki baterii tak, jak pokazano poniżej. Trzy podwójne styki należy mocno wcisnąć, aż zrównają się z wewnętrzną powierzchnią komory baterii. Dwa pojedyncze styki z kolei należy włożyć do komory baterii tak, by ich wypustki lutownicze wystawały przez otwory w górnej części obudowy. Zanim przylutujesz 2 pojedyncze styki do płytki PCB poleca się tymczasowo przykleić je taśmą lub przytrzymać na miejscu, by łatwo umieścić w komorze baterie wymagane do zasilania Zumo Robot Kit v1.2.

Krok 7:

Zamontuj opony i gąsienice.

Krok 8:

Pobierz bibliotekę Zumo w oprogramowaniu Arduino IDE i prześlij przykładowy kod do swojej płytki Arduino. Po wykonaniu tej czynności umieść swoją płytkę Arduino na płytce PCB, która jest zamocowana na podwoziu. Upewnij się, że w komorze znajdują się baterie.

Krok 9:

Włącz robota i zacznij nim sterować. Przyjemnej zabawy!

UWAGA: Zestaw Zumo Robot Kit v1.2 nie obejmuje  silniczków elektrycznych, baterii oraz płytki Arduino!
Wideo
Firma: Transfer Multisort Elektronik (TME)
Tematyka materiału: poradniki montażowe, TME, Transfer Multisort Elektronik, zestawy robotyczne, Zumo Robot Kit v1.2, Zumo
AUTOR
Źródło
tme.eu
Udostępnij
Zobacz wszystkie quizy
Quiz weekendowy
Theremin
1/10 Lew Termen i Leon Theremin to ta sama osoba. Które nazwisko pojawiło się później?
UK Logo
Elektronika dla Wszystkich
Zapisując się na nasz newsletter możesz otrzymać GRATIS
najnowsze e-wydanie magazynu "Elektronika dla Wszystkich"