MAX22005
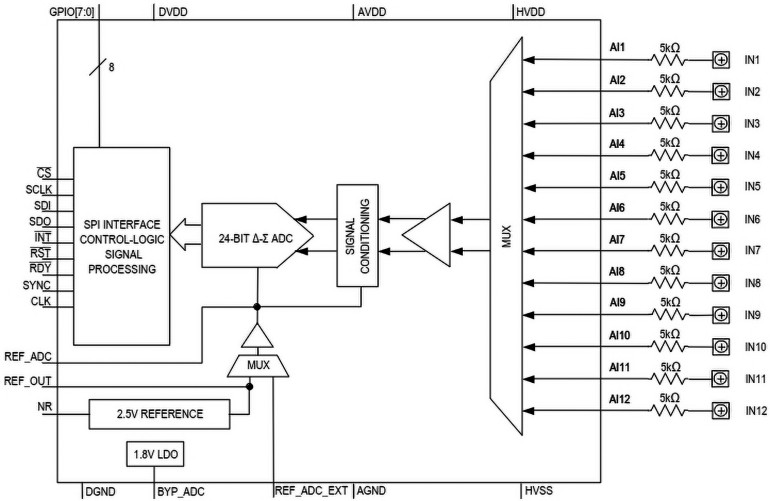
Schemat blokowy układu MAX22005 został pokazany na rysunku 1. Front-end ma 12 linii wejściowych, zorganizowanych w czterech tzw. trypletach – specjalnych blokach, obejmujących po trzy kolejne wyprowadzenia (AI1...AI3, AI4...AI6, itd.), przy czym linia o najniższym numerze (np. AI1 w przypadku pierwszego trypletu) pełni funkcję wyprowadzenia wspólnego dla dwóch wejść różnicowych. Wejścia te są określane przez producenta mianem multifunctional differential pair i mogą służyć do obsługi rozmaitych czujników (w tym RTD) oraz przetworników, udostępniających wyjścia napięciowe lub prądowe, przy czym konwersja I→U odbywa się w najprostszy możliwy sposób – poprzez pomiar spadku napięcia na precyzyjnym rezystorze bocznikowym, włączonym równolegle do wejść danej pary różnicowej. Obszerna lista dostępnych konfiguracji została wyczerpująco opisana w nocie katalogowej, dostępnej pod adresem https://t.ly/Imic– zainteresowanych Czytelników odsyłamy do lektury dokumentacji producenta.
Warto dodać, że – podobnie jak w przypadku wielu innych, uniwersalnych front-endów wejściowych oraz wielokanałowych przetworników przeznaczonych do urządzeń pomiarowych i systemów DAQ – także w tym przypadku mamy do czynienia z możliwością skonfigurowania dwunastu wspomnianych linii wejściowych w klasyczny sposób – każde z wyprowadzeń może być odpytywane oddzielnie (wejścia typu single-ended) lub pracować z sąsiadującą linią (np. AI1-AI2, AI3-AI4, itd.) w ramach standardowej pary różnicowej. Łącznie układ daje do wyboru aż 26 konfiguracji, wybieranych za pomocą interfejsu SPI.
Za właściwe pomiary sygnałów analogowych odpowiada 24-bitowy przetwornik ADC, jak to zwykle bywa – typu delta-sigma. Wbudowane źródło napięcia odniesienia zapewnia doskonałą stabilność termiczną na poziomie 5 ppm/°C(!), co w połączeniu z precyzyjnymi przedwzmacniaczami o zerowym dryfie oraz szerokim zakresem mierzonych napięć wejściowych (±12,5 V na każdej z linii, ±25 V w trybie różnicowym pomiędzy wejściami danej pary) daje niezwykłą elastyczność w praktycznych aplikacjach przemysłowych. Godny uwagi jest także fakt, iż wejścia front-endu zostały bardzo solidnie zabezpieczone przed przepięciami – oprócz tolerancji impulsów ESD w zakresie do ±2 kV, układ może znieść także napięcia stałe na poziomie ±36 V (przy czym na liniach zasilania wysokonapięciowego HVSS i HVDD mogą występować potencjały do ±24 V). Należy pamiętać, że w przypadku zasilania bipolarnego za pomocą dwóch przetwornic DC/DC awaria jednej z nich może uniemożliwić efektywne zamknięcie obwodu, tworzonego przez wewnętrzne diody zabezpieczające oraz blok zasilania – w takiej sytuacji pomocą mogą być rezystory, tworzące dzielniki sprzężenia zwrotnego współpracujące z przetwornicami. Producent zwraca przy tym uwagę na konieczność odpowiedniego doboru całkowitej (szeregowej) rezystancji dzielników – zbyt wysoki opór nie będzie w stanie zapewnić efektywnej ochrony przeciwprzepięciowej wejść front-endu.
Kolejny sensor wykorzystuje linie AI3 oraz AI4, skonfigurowane w trybie klasycznego wejścia różnicowego (napięciowego), zaś następny – połączony z liniami AI5 oraz AI6 – współpracuje z front-endem na zasadzie pętli prądowej, zakończonej 50-omowym rezystorem pomiarowym. Ostatnie dwa wejścia mogą obsługiwać zarówno czujniki z wyjściem prądowym, jak i napięciowym, przy czym do wyboru konfiguracji zastosowano tutaj zewnętrzny, poczwórny przełącznik analogowy (w tej roli MAX14757), sterowany za pomocą trzech z ośmiu wyjść GPIO, dostępnych na pokładzie front-endu MAX22005.
Na koniec tej części artykułu dodamy jeszcze informację dla praktyków, planujących zastosować omawiany układ w projektowanych urządzeniach – na rynku dostępne są obecnie dwa zestawy ewaluacyjne (oraz jeden moduł uniwersalny), umożliwiające szybkie rozpoczęcie pracy z front-endem MAX22005. Warto zwrócić uwagę na płytkę MAXREFDES185, będącą kompletnym projektem referencyjnym, korzystającym z MAX22005 jako układu monitorującego wszystkie linie analogowe głównego front-endu (w tej roli MAX22000), obsługującego zarówno funkcje wejść, jak i wyjść. Użytkownicy ekosystemu deweloperskiego marki MikroElektronika mogą natomiast skorzystać z prościutkiej nakładki ADC 18 Click, zawierającej, oprócz samego AFE – absolutnie minimum elementów peryferyjnych, niezbędnych do prawidłowej pracy układu.