Serwisy partnerskie:
Close icon
Serwisy partnerskie

Nowy przetwornik A/C ADAQ23878 od Analog Devices

Article Image
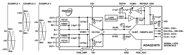
Analog Device wprowadził do swojej ofert nowy przetwornik Analogowo-Cyfrowy o oznaczeniu ADAQ2387. Jest to przetwornik z serii μModule®, który zawiera dyskretne elementy wewnątrz układu. Dzięki temu ciężar ich doboru jak i ich optymalizacji i wydajności modułu został przeniesiony na producenta układu, zamiast na inżyniera aplikującego układ. Redukuje to czas wdrażania rozwiązania do produktu jak i miejsce na PCB.

Wykorzystując technologię System-in-Package (SIP) została zmniejszona liczba zewnętrznych komponentów, integrując wewnątrz układu bloki przetwarzania i kondycjonowania sygnału, w tym niskoszumowy, w pełni różnicowy sterownik ADC (FDA), stabilny bufor referencyjny oraz szybki, 18-bitowy, 15 MSPS rejestr aproksymacji sukcesywnej (SAR) ADC. 

Niewielkie rozmiary obudowy BGA o wymiarach 9 mm × 9 mm umożliwiają stosowanie mniejszych układów bez utraty ich wydajności. 
Wewnętrzna integracja rozwiązuje wiele wyzwań projektowych, podczas gdy urządzenie nadal zapewnia elastyczność konfigurowalnej pętli sprzężenia zwrotnego sterownika ADC, aby umożliwić regulację wzmocnienia lub tłumienia. Pojedyncze zasilanie 5 V DC jest możliwe przy zachowaniu optymalnej wydajności układu. 

ADAQ23878 jest wyposażony w cyfrowy interfejs szeregowego, niskonapięciowego sygnału różnicowego (LVDS) z trybami wyjścia jedno- lub dwutransmisyjnego, co pozwala użytkownikowi zoptymalizować szybkość transmisji danych interfejsu dla każdej aplikacji. Przetwornik może działać w zakresie temperatur od -40°C do +85°C. 

Podstawowe parametry elektryczne:

  • Zintegrowany w pełni różnicowy sterownik ADC ze skalowaniem sygnału
  • Szeroki zakres napięcia wejściowego w trybie wspólnym
  • Wysoka wartość współczynnika CMRR: 100 dB. 
  • Zakresy napięcia wejściowego z 4,096 V REFBUF: ±10 V, ±5 V, ±4,096 V, ±2,5 V i ±1,5 V
  • Opcje wzmocnienia/tłumienia: 0,37, 0,73, 0,87, 1,38 i 2,25
  • 0,005% precyzyjnie dopasowana tablica rezystorów dla FDA
  • Niska moc, dynamiczne skalowanie mocy, tryb wyłączenia: 143 mW typowo przy 15 MSPS
  • Błąd INL: typowo ±3,1 ppm, maksymalnie ±6,2 ppm
  • SINAD: typowo 90,4 dB przy 20 kHz (wzmocnienie = 0,73)
  • THD: -117 dB przy 1 kHz, -110 dB przy 100 kHz (wzmocnienie = 0,73)
  • Błąd wzmocnienia: ± 0,005% FS typowy
  • Dryft błędu wzmocnienia: typowo ± 0,13 ppm/°C
  • Wbudowany bufor referencyjny z generacją VCMO
  • Szeregowy interfejs LVDS

Zastosowanie:

  • Automatyczny sprzęt testowy
  • Pozyskiwanie danych
  • „Hardware in the Loop” (HiL)
  • Analizatory mocy
  • Badanie nieniszczące (emisje akustyczne)
  • Spektometria masy
  • Lokalizacja błędu fali podróżującej
  • Obrazowanie medyczne i instrumenty
DATA SHEET
Do pobrania
Download icon Dokumentacja przetwornika A/C ADAQ23878 Analog Devices
Firma: Analog Devices (ADI)
Tematyka materiału: ADC, ADAQ23878, Analog Devices, LVDS
AUTOR
Źródło
www.analog.com
Udostępnij
Zobacz wszystkie quizy
Quiz weekendowy
Theremin
1/10 Lew Termen i Leon Theremin to ta sama osoba. Które nazwisko pojawiło się później?
UK Logo
Elektronika dla Wszystkich
Zapisując się na nasz newsletter możesz otrzymać GRATIS
najnowsze e-wydanie magazynu "Elektronika dla Wszystkich"